发新话题
打印

整整八年,金三角已经没有毒贩敢杀中国人了

整整八年,金三角已经没有毒贩敢杀中国人了


在中国周边地区,金三角是最混乱的敌方,这地方的混乱程度在全世界都是名列前茅的。

无数毒贩盘踞在这一地区,和当地政府盘根错节,难以清除,到今天依然是世界最大的毒品产地之一。

金三角的毒贩,最巅峰的时候其武装力量甚至可以正面硬刚政府军。

在这样的地方,暴力当然是无处不在,就没有毒贩不敢干的事情。

但最近八年来,已经没有一个金三角的毒贩敢杀中国人了。

在金三角,毒贩谁都敢杀,但就是不敢杀中国人,因为一旦被曝光,后果太过可怕。

但是在八年前,情况可不是这样的,那时候的金三角毒贩,可真没把中国人当人看。

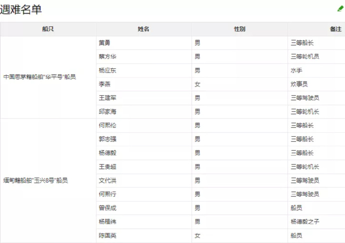
2011.年.10.月.5.日,金三角地区发生了湄公河血案,13.名中国人被杀。

湄公河是东南亚的一条水道,但是在很久以前,这条河非常狭窄,遍布暗礁,并不适合船只航行。

2003.年,中国、缅甸、老挝、泰国签署了零关税条约,随后中国政府出钱出力拓宽了湄公河,并炸毁了多处暗礁,让湄公河成为了东南亚各国来往的黄金水道,航运量激增。

2011.年.10.月.5.日,泰国军方接到了一个举报电话,说湄公河上有两艘船,上面有大量毒品。

下午.1.点半,泰国军方发现了嫌疑船只,悬挂了中国、缅甸、老挝、泰国四国国旗的「华平号」和「玉兴.8.号」运输船。



警方示意货船停船接受检查,但两艘货船并未停下,反而加速逃离,于是军方开火,和船上.5.名武装人员交火,击毙其中一人,其余逃离。

然后,泰国军人登上了船只,在船上发现了一具尸体,一把冲锋枪,以及八九十万粒毒品,价值约.2000.多万人民币。

随后,泰国军方宣布破获一起重大贩毒案件,嫌疑人为中国船员,军方通报中明确使用了中国船只和中国武装贩毒分子字样:

我们接到线人举报,中国船只武装贩毒,我们军方得知后赶往船上去查获,遭到武装分子的袭击,我们被迫还击,打死中国武装贩毒分子,缴获了.92.万粒的毒品。

是不是中国武装分子在贩毒,而且还运了.92.万粒毒品这么多?

没有证据,我们还真不好说什么。

10.月.7.日,案发两天后,泰国清盛码头先后发现了两具漂浮而来的遗体,双手被手铐反铐,一人头、腹部中弹两枪死亡,另一人的眼睛、嘴巴被胶带封住,颈部有致命刀伤,胸腹部中弹死亡,这两人被证实为".华平号".船长黄勇和".玉兴.8.号".船长杨德毅的儿子。

10.月.8.日,泰国警方从湄公河打捞起.9.具中国船员尸体,打捞出来的遗体双手被手铐铐住,头上缠满胶带,背上有无数的枪眼。

两艘中国货船上总共就.13.名船员,这一下子就发现了.11.具遗体,全部被反铐后枪杀,毫无疑问中国船员都是受害者,不可能是毒贩。



死者家属悲愤莫名,好好的做点小生意,赚点辛苦钱,却飞来横祸,惨死异乡,还被污蔑为贩毒分子。

他们的死亡到底是怎么回事,这可是.13.条人命。

10.月.10.日,泰国军方和警方称,这起劫杀案的凶手是来自于缅甸佤邦的诺坎贩毒集团,动机可能是索要保护费,也可能是想劫持船只运毒,遭到中国船员拒绝后痛下毒手。

至于理由,理由是两艘中国船的遇袭情况和诺坎贩毒集团的作案手法很像。

没想到,仅仅几个小时之后,佤邦方面就光速打脸泰国方面,他们找到了一个目击者,证实当时泰国军方人员在登上一艘船只后,枪击.5.名船员,并将至少.6.具尸体推入了江中。

佤邦表示,建议中国方面成立调查团,全面调查当时在涉事水域执勤的泰警,佤邦方面坦坦荡荡,也愿意接受同样的调查。



这份通告一出,世界震惊,难道人是泰国军方杀的?

他们为什么要杀中国人,出于什么动机下的死手?

根据国际法,中国船只和航天器上的管辖权是归中国的。

在中国的船只上,杀了中国人,这属于严重的挑衅。

10.月.13.日,中国外交部召见泰国、老挝及缅甸的驻华使节,提出紧急交涉,并安排遇难船员家属到泰国认领亲人遗体。

10.月.22.日,以中方为主导的联合调查组得出了初步技术调查结论,以铁一般的证据为中国船员洗清了贩毒的冤屈。

1..在所有毒品的外包装上提取的所有指纹和.DNA.信息,均没有发现.13.名船员的痕迹,这说明这.13.名中国船员自始至终都没有触碰过毒品。

2..在船上发现的那只属于毒贩的冲锋枪及散落在周边的子弹,在其上面提取的所有指纹和.DNA,也没有中国.13.名船员的痕迹,这说明.13.名中国船员自始至终都没有触碰过武器。

3..调查组对遗体进行了弹痕测试,证实死者所有的枪伤都是从上到下的角度射入体内的,也就是所有的死者都是跪着,然后被人近距离以行刑的方式枪杀的。

以上三点证据,足以证明中国船员绝不可能是毒贩。

花这么多时间,提取这么多证据,就是为了先占住大义,用铁的事实,而不是猜测,去确定案件的真相。

在这些证据面前,泰国方面无话可说。

10.月.28.日,泰国政府通知中国公安代表团,说已经和泰国军方商量好,第二天下午泰国军方会把现场开过枪的.9.名军人送到警方来投案自首,泰国警方会以故意杀人罪和抛尸罪起诉这.9.名军人。

中国调查组很高兴,看样子很快就能水落石出了。

但没想到的是,这.9.名军人仅仅只录了.20.分钟口供,然后就回去了。

10.月.30.日,泰国陆军发言人讪森上校宣称,泰国的.9.名军人是按照职责行事,执行的是缉毒任务,绝对没有杀人。

既然没有杀人,那为什么泰国军人会抛尸?

这一点,泰国军方拒绝给出解释,只是说军事法庭后续会调查清楚一切的,该罚的一定罚等等敷衍之词。

泰国是分裂的,军方和泰国皇室是一边的,政府是一边的,当时的泰国政府总理英拉非常亲华,但泰国军方却十分的反对英拉。

因此,泰国军方拒绝将.9.名军人交给中国调查组审讯,也不解释事情的真相。

事已至此,中国警方只能靠自己了。

2011.年.11.月.3.日,中国方面以禁毒局局长刘跃进为首,抽调.200.余名精兵强将,组成专案组全力破案。

从理论上来说,泰国军方确实应该没有杀人,因为他们完全没有杀人的利益动机,干这种事会给泰国军方带来天大的麻烦,而不会有任何好处。

虽然理论上凶手可能不是他们,但肯定有人是凶手,那这件事到底是谁干的?

泰国军人虽然可能没杀人,但肯定是抛尸了,因此他们一定知情。

但是泰国军方不愿意交出知情人,此事就只能一头雾水。

不过细细分析,这件事涉及价值.2000.万人民币的毒品,还有至少.5.名武装分子,这说明另一侧的知情人一定是毒贩,且是规模不小的毒贩,这些毒贩大概率就是杀人者。

于是,中国专案组决定从毒贩这一侧进行入手调查。

嫌疑人一定是金三角区域的某个贩毒集团,但到底是谁?

很快,中国边境的缉毒公安干警都收到了一个任务,严审在中国境内抓到的所有东南亚外籍贩毒嫌疑人,询问和湄公河血案有关的一切。

2011.年.11.月底,案情有了突破,一名在中国贩毒被抓获的缅甸籍犯罪嫌疑人交代,他的上级是糯康组织的一个小头目,名叫岩相宰。

岩相宰很快被抓获,陆续交代了糯康组织的组成人员和组织分工。

在交代过程中,岩相宰提了一句,在"10?5″惨案发生后,他曾经听顶头上司依莱.(糯康组织.3.号人物).讲过,"10?5″案件是糯康组织干的。

这句话迅速被缉毒干警们传达给了专案组,引发了专案组的重视。

糯康组织,具备重大嫌疑。

专案组立即组织精兵强将,抓捕依莱。

2011.年.12.月,糯康集团骨干分子依莱被抓获,承认湄公河血案是糯康组织勾结泰国个别不法军人所为。

根据依莱的供述,泰国军人要求糯康弄点毒品和替罪羊供自己查获,以便于自己立功晋升,作为回报,糯康集团以后可以在清盛码头自由贩毒。

这一供述,和客观事实相符,和泰国军人的奇怪表现相符,也能解释作案动机。

唯一不能解释的,就是为什么要杀人,因为栽赃陷害找替罪羊没必要杀人。

但毫无疑问,这起血案极大概率就是糯康干的。

干掉糯康,就能给.13.名中国船员报仇。

以中国军队的武力,击杀糯康非常简单,不管明着杀暗着杀都很简单。

以中国警方的实力,如果偷偷摸摸的去抓糯康,也很简单,糯康的.3.号人物依莱只花了十几天就抓到手了。

抓人并不难,偷运回国内也不难。

但既然已经基本确定了糯康就是凶手,那这事就不是简简单单的报仇和抓人了。

金三角的这帮毒贩,我们得给他们立立规矩了,让他们知道谁不能惹。

花那么大代价调查此案,不是简简单单的为了报仇的,而是要在以后彻底保护中国公民。

因此,中国专案组决定,抓捕糯康这事主要由缅甸和老挝的军警出手,中国警方只负责出几个人配合行动。

我能抓,但我不抓,我就是让金三角的政府力量去抓,光明正大的抓。

为什么没有让泰国的军警参与?

因为所有证据都表明,和糯康勾结的大概率就是泰国军方,虽然只是个别人员,但也是军方的耻辱。

屠杀这么多中国人,大概率不是泰国军方的本意,因为立功也不是这么个立法,很有可能是糯康自己擅作主张。

在中国拍摄的电影《湄公河行动》中,话里话外都在暗示泰国军方就是糯康背后的大.BOSS。



这电影里有个镜头,在事发后,传话人宋哥说.BOSS.非常生气,而糯康则激动地说,BOSS.交代他的事,他都完成了,怎么完成的就别管了。

这个台词的设定,很有意思。



如果让泰国军警参与抓捕,一定不会留糯康活口,绝对不会让糯康活着到中国。

这个情节在电影里也有展现,大.BOSS.在事情曝光后,抢在中国专案组前面,派出戴着面具的精锐特种部队击杀糯康,绝不让糯康落在中国人手里。



专案组判定,糯康只要脑子没问题,一定不敢去泰国领土上躲避,因此只需要缅甸和老挝的军警出手抓捕就可以了。

不过老挝和缅甸的军警实力是真的差劲。

从.2011.年.12.月.6.日的第一波抓捕开始算,抓糯康足足抓了.5.个月,失败多次。

各种通风报信,各种极限跑路。

不过和专案组料定的一样,糯康变换了多个藏身地,始终在缅甸和老挝打转,对近在咫尺的泰国,一步都不敢去。

2012.年.4.月.25.日,专案组接过线报,获知糯康即将由缅甸潜入老挝波乔省孟莫县活动,再次通知老挝军警准备抓捕。

当天下午,糯康刚在老挝波桥省的码头下船,就被警察逮了个正着,当场抓获糯康等.3.人。

后来,糯康犯罪集团的其他主要成员,也陆陆续续的被抓获。

2012.年.5.月.10.日上午.11.点,老挝警方和中国举行了移交仪式,把糯康正式移交给中国方面。



央视等官媒,对此做了专门的报道。



在北京机场,糯康下飞机后,由中国公安机关在机场向糯康宣读了对其的逮捕令,糯康签字。



就这样,湄公河血案的主犯归案。



为什么要选中国船当栽赃嫁祸的替罪羊,这和糯康组织的个人恩怨有关。

在老挝,有一家金木棉公司,老板叫赵伟,很神秘,只知道他是东北人,早年做过木材生意,2007.年和老挝政府签署协议,拿下了.106.平方公里的土地,建了一个."金三角经济特区",发展了农贸观光,酒店赌场等一条龙服务。

在这一大片土地上,赵伟开了一家气势恢宏,称得上是金三角地区最大最豪华的赌场,聚集了很多客人,影响到了糯康旗下赌场的生意。

除此之外,金木棉公司还办了一个运输公司,有几艘货船和三艘客船,货船主要是为公司运输景观石等建筑材料,客船主要是运输游客和赌客。

糯康曾经派人到金木棉公司收保护费,但公司负责人阿明并没有理会。

因此,糯康决定给金木棉公司一点颜色看看。

2011.年.4.月.2.日,金木棉公司的货船."渝西.3.号".和客船."金木棉三号".被糯康组织绑架。

2011.年.4.月.3.日,金木棉公司的."正鑫.1.号".和."中油.1.号".两艘货船被糯康组织绑架。

糯康组织把人质们双手反铐,绑在岸边,用布蒙住他们的脸,往他们脸上浇水,逼迫他们承认为阿明运输毒品,还用摄像机做了记录。

然后,糯康通知阿明他们来交赎金,开价.3000.万泰铢,最终谈到了.2500.万泰铢,约合.489.万人民币。

2011.年.4.月.6.日,阿明从金木棉公司财务室取出.2500.万泰铢,把人质给换了回来。

但金木棉公司并没有服气。

2011.年.9.月.22.日,在阿明的联系和运作下,缅甸和老挝军警对糯康位于."散布岛".的大本营进行了一次大规模的清剿,将其彻底摧毁,把糯康组织打成了一个流窜团伙。

载着老挝军警和缅甸军警前来攻击糯康大本营的,是一艘名为."载鑫号".的中国商船,上面还挂着中国国旗。

糯康一直想出这口恶气,还没找到机会,泰国军方找出来了。

2011.年.10.月.3.日,糯康组织的依莱和弄罗和泰国军方的人见了面,双方确定了合作的条件,由糯康负责提供一批毒品和替罪羊帮泰国军方的某些人升官,而泰国军方以后为糯康提供庇护。

没有丝毫犹豫,糯康就直接选了中国船当替罪羊。

10.月.4.日,糯康组织踩好了点,确定了一艘中国船第二天会经过的位置。

10.月.5.日上午.5.点,糯康下达了劫船的命令。

大约.7.点,中国船只被截停,因为另外一艘中国船只恰好经过,于是就截停了.2.艘。

截停后,船只赶往泰国军方的指定地点,途中糯康下达了两个互相矛盾的命令。

第一个命令,要求手下不要杀人,朝天鸣枪就可以了,然后把人交给泰国军方。

第二个命令,要求手下留三四个活口就可以了,其他的全部杀掉。

这两个命令把手下搞糊涂了,于是在快到地点的时候,询问了三号人物依莱,而依莱依稀记得糯康好像有说过全部杀掉的话,于是说."留什么留,杀一个也是杀,全部杀掉算了"。

于是,手下卡西扎等三人把.13.名中国船员全部杀掉,随后跳船逃跑。

这种行为,完全不可理喻,非常的不理智。

在金三角有很多大毒枭,但所有赫赫有名的大毒枭都有一个特点,自己不吸毒,也绝不允许手下吸毒,不管是罗星汉还是坤沙,都是如此。

但糯康不一样,他不仅本人吸毒,还要求所有的手下都吸毒,把毒品当成控制手下的手段。

栽赃嫁祸而已,完全没必要杀人。

要么是糯康团队的人吸毒把脑子都吸坏了,要么就是他们这群人完全不把中国人的命放在眼里,只想着如何给自己减少一点点目击证人带来的麻烦,从来没有考虑过杀人可能带来什么后果,因此杀人很随意,并没有什么周密计划和目的。

后者,也许是重要原因。

在糯康被抓后,他很配合中国警方,让拍照就拍照,让签字就签字。

在法庭上,糯康还双手合十,向遇难者家属表示歉意,希望得到谅解,并愿意提供赔偿。

从图片上看,嘴角甚至还有微笑。



糯康的心理究竟有多强大,才能在犯下如此滔天大罪后如此淡定。

2012.年.11.月.6.日,"湄公河惨案".的主犯:糯康、桑康?乍萨、依莱、扎西卡、扎波、扎拖波等.6.名被告人,于昆明市中级人民法院一审宣判。

主犯糯康,被判死刑。

桑康、依莱、扎西卡,被判死刑。

扎波被判死刑缓期执行,扎拖波因为只抢劫了船只,手上没沾血,被判有期徒刑.8.年。



这一下,糯康不淡定了。

装死,装大小便失禁,装疯卖傻,糯康丑态百出,千方百计的逃避死刑。

后来,糯康表示他手上有.1000.多万的人民币,愿意全部拿出来赔偿给死者家属,只求逃得一死。

2012.年.12.月.26.日,云南省高级法院进行二审宣判,维持原判。

2013.年.3.月.1.日,糯康、桑康?乍萨、依莱、扎西卡在云南昆明被执行死刑。

在执行死刑的前两天,记者对对糯康进行了独家采访。

糯康说,他始终都认为任何罪行都可以用金钱来赎罪,包括死罪。但是直到这一天,他才发现中国法律和金三角的生存法则是两回事。

在金三角国家,贩毒是不会被判处死刑的,杀人也不会被判处死刑,哪怕被警察抓住,最多关一段时间,有钱还能早早的出来。

金三角那么多贩毒头目,杀人如麻,没有一个是因为贩毒和杀人被警方处以极刑的,基本都是死于内讧和交火。

因为在这套规则下生活了几十年,糯康才如此淡定的被中国警方逮捕,因为他不觉得自己会死。

也正是因为不觉得自己会死,当初糯康才丧心病狂的下令杀人。

整个金三角的毒贩,因为贩毒杀人被警方公开审判,最终判处极刑的,还真没有,糯康算是头一个。

只因为他袭击了中国人。

湄公河惨案后,中国费了老大的劲,终于用公开手段把糯康生擒活捉,最终依法审判。

这么做的目的,就是为了给金三角大大小小的毒贩看,让他们知道袭击中国人的下场和代价。

除此之外,在这次惨案后,中国还主导了."中老缅泰湄公河联合执法",由中国公安对湄公河进行武装巡逻。

湄公河虽然不是中国的,但上面有中国公安的船,还有枪。

武装巡逻的目的只有一个,那就是保护中国商船,保护中国人,震慑一切心怀不轨的非法分子。



抓捕糯康,是中国警察的第一次海外执法,目前的保护本国公民,在全球范围内,只有美国人这么干过,其政治意义,远远不是枪毙几个毒枭那么简单。

效果也很显著。

糯康被处死后,整整.8.年过去了,金三角每时每刻都有冲突,几乎天天都有毒贩在杀人。

但已经没有毒贩敢无缘无故的去惹中国人了,因为实在是划不来。

来源:远方青木.微信号:YFqingmu

感觉是无脑意淫而已,大毒枭连军警都敢火拼还怕你普通民众?[36] 太反智了吧
远方青木。。。限电大棋论[3]
引用:
原帖由 wangjian 于 2021-9-29 15:54 发表
感觉是无脑意淫而已,大毒枭连军警都敢火拼还怕你普通民众?[36] 太反智了吧
这篇文章的主旨在于说明我国维护公民合法权益所付出的努力。标题浮夸了些,结论有失严谨,内容却是大体不差的。
湄公河事件中对大毒枭糯康的追捕和最终审判,都是事实。
引用:
原帖由 wangjian 于 2021-9-29 15:54 发表
感觉是无脑意淫而已,大毒枭连军警都敢火拼还怕你普通民众?[36] 太反智了吧
哪里反智了?很正常的思路嘛。中国人不敢贩毒,不会抢毒贩的生意,杀了中国人没什么益处反而会引来全军覆没的报复,那么赔本的生意谁都不想去做。[42]

回复 2楼帖子 的帖子

属于是自作聪明,公知狗、
[104]
发新话题
查看积分策略说明

快速回复主题

选项

[完成后可按 Ctrl+Enter 发布]  预览帖子  恢复数据  清空内容