发新话题
打印

科普:在天上怎样解决屎尿问题?

科普:在天上怎样解决屎尿问题?


即便是今天,仍旧有一些飞行者直接把屎尿倒在空中化为一团乌云。这么干的人里面我还认识一个。

当然,大部分生活在地面上的人类并不用担心被人类的天屎袭击。

不过如果你乘坐的是一款60年前的老飞机,比如这架1937年款的英国休泼马林公司Stranraer水上飞机,那真有可能会把屁屁暴露在寒冷的高空气流中,天屎散花。因为它的客舱里就有一个"直排厕所"。风吹屁屁凉的感觉一定很爽。



后来为了改善如厕舒适性,航空设计师开始在机舱内布置稍微友好一点的厕所,比如英国惠灵顿轰炸机里布置的那个小厕所,对,就是那个带盖的桶。不过据英军士兵反映,不到万不得已,他们才不会用那玩意儿呢。比起尿到瓶子里,拉到纸盒里,然后开窗丢出去,那个马桶实在是糟透了。



这种做法其实早就被一些航空先驱采用了。1927年美国飞行家林白Charles Lindbergh驾驶圣路易斯精神号单引擎飞机用33.5小 时的时间成功飞越大西洋,因此他成为各种名流的座上客。当英王乔治五世接见他的时候,根据会谈记录,国王弯下腰凑近林白问他:"我很好奇,你驾驶飞机的时 候是怎么行方便的?"林白回答说:"我的驾驶座前面有个漏斗,漏斗通过一根管子接在一个铝罐上。在着陆之前,我把那个铝罐丢在法国了。"



所以理论上,林白可以一边嘘嘘一边摆酷。而当法国人在巴黎的航空俱乐部外面朝阳台上的林白(左一)欢呼的时候,一定也不知道这个帅小伙往他们头顶倒夜壶来着。



现 在的一些航空先驱仍然在采用这种简单易行的办法。上半年我跟着瑞士的阳光动力团队很长时间。挑战太阳能环球飞行的阳光动力二号由于需要驾驶员几天几夜的不 间断飞行,所以也配备了厕所。我问过飞行员安德烈波许博格如何在飞行中如厕的问题。小便很简单,每天都要喝空很多饮料瓶,原样奉还就是。座椅中间有个坑, 打开盖子里面是可降解塑料制作的袋子。当然气味很糟糕,如果在海上飞行,飞行员就会直接扔出去。在陆地上的话就需要攒到降落或者到海上集中处理。

我手里拿的就是阳光动力二号上的粪便袋,希望不是用过的。



到了民航时代,一架飞机动辄坐几十、上百人靠汽油桶和纸盒子肯定完成不了任务。更重要的是,随着喷气时代的来临,民航机越飞越高。高空的低温低氧低压是让人很难忍受的,于是出现了"增压客舱"这个概念。

增压客舱是完全密闭的,能保证里面大约相当于3000米海拔的气压,乘客能舒适得多。而在高空客舱内外就会有不小的压力差。但是这就造成了你没办法轻易开个门往外倒东西,那会让客舱内压力迅速减小。

于是最早的民航抽水马桶,跟我们家用的差不多,或者它的整个结构更像是在鸟巢水立方附近的可移动式厕所。为了清洁马桶和管道,减少堵塞和水垢,马桶水里会添加一些蓝色的清洁剂。下图就是一种专用的航空马桶水添加剂。



这种厕所的毛病很多。比如容易堵、老反味儿。最要命的是要用大量的水,冲一次马桶好几升水,一个航次下来几百升水就被用掉了。而这些水都是飞机的"死重",那都是白花花的银子啊。要是能少带点儿马桶水,就可以多带点油或者多拉几个客。

对于公众来说,这种厕所最著名的缺点就是清洁剂对管道有腐蚀性,容易引发测漏。在高空低温环境里,漏出来的液体会迅速结冰。

一旦冰块在气流冲击下破碎脱离飞机,就有可能撞坏飞机本身。上世纪70、80、90年代波音727曾经各发生一起渗漏结冰撞击事件,所幸都没有造成严重损失和人员伤亡。

如果没有砸到飞机,冰块在下落过程中会慢慢融化,但是如果冰块体积实在很大,就有可能落地。从上世纪70年代到现在,媒体报道的天降"蓝冰"(还记得前面的蓝色清洁剂么)事件有30多起。还好,除了砸漏过一个房顶,和一些汽车,以及有人好奇舔食造成了肉体轻微精神极大的损害之外,没有更严重的后果了。

《流言终结者》曾经专门做过一期节目讲这个事儿。有兴趣的朋友可以找视频来看。



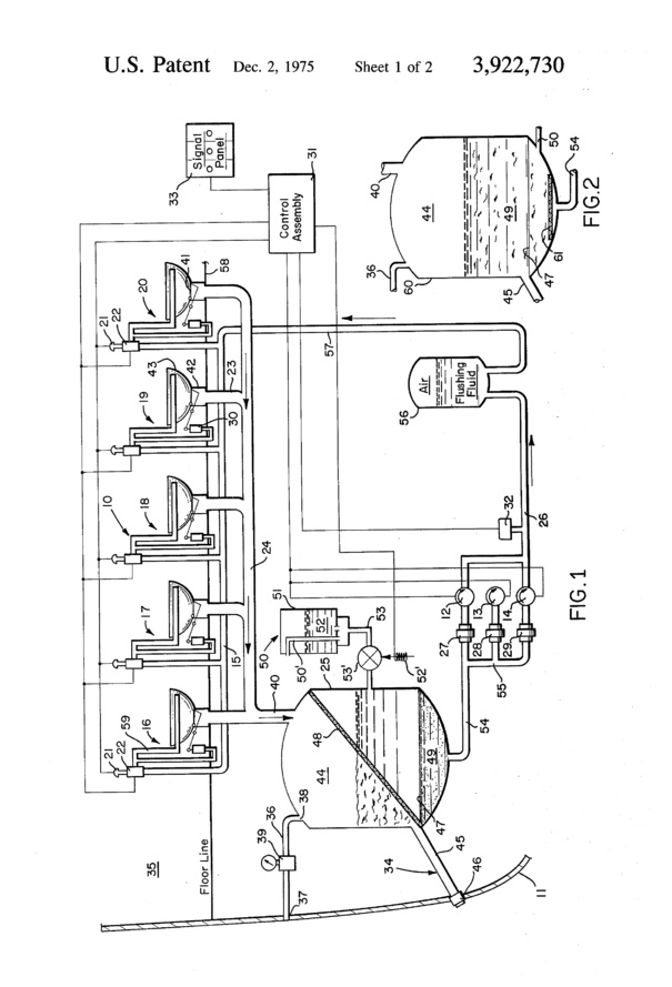
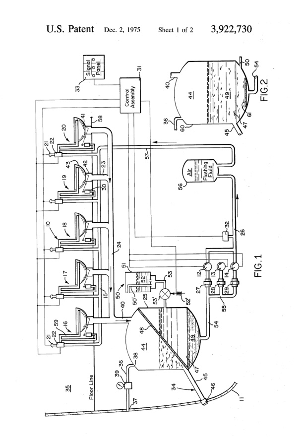
于是,1975年,一个叫James M. Kemper的美国人获得了一项"真空航空马桶"的专利(专利号US3922730 A)。 这个设计用一个真空泵在废水箱里制造低压,当按下冲水按钮时,废水管和马桶之间的阀门被打开,马桶里的秽物被吸进废水箱,同时,马桶内壁会用少量水清洁。 真空吸力加上马桶和管道内壁的不粘特氟龙涂层让清洁变得很彻底,而且还会吸走臭气,让厕所更清新。这个设计很成功,自从1982年波音首次在自己的飞机使用这种马桶以来,飞机上的厕所再没发生革命性的变化。唯一的问题可能是抽吸的时候噪音很大,第一次用飞机厕所的时候你有没有被吓一跳?



今天我们看到的飞机厕所大概都是这样的模块化部件,飞机总装厂只需要订货直接插积木就可以了。




现在世界民航系统已经基本普及了这种真空马桶,理论上蓝冰事件已经不怎么会再发生了。

一般每个废水罐的容积是200加仑,也就是不到800升。只要不是飞机餐里被混入了霍乱弧菌,想来还是够用的。

一旦飞机落地,机场就会有专门的废水处理车开过来,管道接上飞机的废水口清理废水罐。





当然根据墨菲定律,这架图-154客机就没憋住。



还好只是在地面上,目前为止尚未查到有飞机在空中失禁的报道。

谈到厕所,拔高一点层次,不能不提到性别平权。男女如厕的差异导致了原本没有性别区分的飞机厕所并不太照顾到女性的需求。最早做出改变的是日本的全日空(ANA),早在2011年,它们的一些航班上就设置了女性专用厕所。当然如果有特殊情况,比如乘客身体严重不适,或者航班中国女性乘客比例较低时,也会放开给男性使用。

前几天我去法国图卢兹空客总部参加芬兰航空首架A350-900XWB客机的交付仪式。这架崭新的飞机也有女性洗手间,设置在公务舱。跟全日空类似,除非特殊情况,这个洗手间也只对女性乘客开放。跟我同去的@航空物语同学(男)在空乘的监督下拍摄了这个卫生间的照片。如下:





除了采用了特别的照明,提供更多香水和护肤品选择外,这个厕所与普通厕所在装置上并没有什么不同。

不过至少算是开了一个好头吧。



"或者航班中国女性乘客比例较低时"

?????
讲打讲杀唔好预我,我睇咸带好过。——凌凌漆
我的确听说过尿柱从天降杀人的事[39]
"或者航班中国女性乘客比例较低时"

?????
发新话题
查看积分策略说明

快速回复主题

选项

[完成后可按 Ctrl+Enter 发布]  预览帖子  恢复数据  清空内容